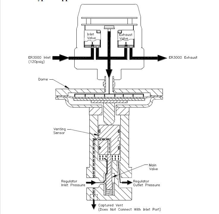
ER5000 Series Electropneumatic Actuator
The ER5000 Series is a microprocessor based PID (Proportional, Integral, Derivative) controller that brings precise algorithmic pressure control to a wide range of applications. It can be used as a standalone unit to control the pressure of inert gases or natural gas from 0 to 100 psig / 0 -6.9 bar, or be connected to any pneumatically actuated regulator. When used with regulators, the ER5000 provides pressure control of gases and liquids from vacuum to 30,000 psig / 2068 bar.


